Перейти к:
Влияние конструктивных параметров термометрических скважин на точность измерения температуры грунтов
https://doi.org/10.37538/2224-9494-2025-4(47)-90-103
EDN: ONMOPT
Аннотация
Введение. Для мониторинга температурных условий многолетнемерзлых грунтов широко применяются системы температурных датчиков, размещенных на различных глубинах в скважинах. При этом датчики, как правило, располагаются внутри специальных защитных трубок, предохраняющих оборудование от механических и химических воздействий. Однако конструктивные особенности этих трубок, такие как их материал и диаметр, могут влиять на эффективность передачи тепла от грунта к сенсору, а значит и на точность измерений. Помимо этого, актуален вопрос необходимости теплоизоляции верхней надземной части защитной трубки для исключения влияния температуры воздуха на показания температурных датчиков.
Цель. Определение зависимости достоверности значений температуры грунтов по глубине от конструкции термометрической скважины и разработка наиболее оптимальной конструкции термометрической скважины.
Материалы и методы. Методология заключается в проведении анализа архивной изыскательской и проектной документации, а также нормативной и другой технической литературы, проведении лотковых исследований, а также в разработке рекомендаций по учету конструктивных параметров термометрических скважин при измерении температуры многолетнемерзлых грунтов.
Результаты. В результате комплекса экспериментальных исследований определена оптимальная конструкция термометрической скважины. Даны рекомендации по внесению изменений в СП 25.13330.2020 и ГОСТ 25358-2020.
Выводы. При классическом мониторинге следует использовать защитные трубки из поливинилхлорида или стали диаметром 57 мм. При исследовании точной температуры грунтов в слое сезонного оттаивания необходимо учитывать погрешность, вызванную сталью, или использовать поливинилхлоридную трубку. Оголовок трубки должен быть надежно теплоизолирован.
Ключевые слова
Для цитирования:
Сазонов П.М., Дымченко И.А., Щербакова А.А. Влияние конструктивных параметров термометрических скважин на точность измерения температуры грунтов. Вестник НИЦ «Строительство». 2025;47(4):90-103. https://doi.org/10.37538/2224-9494-2025-4(47)-90-103. EDN: ONMOPT
For citation:
Sazonov P.M., Dymchenko I.A., Shcherbakova A.A. Design effects on the accuracy of soil temperature measurements in thermometric wells. Bulletin of Science and Research Center of Construction. 2025;47(4):90-103. (In Russ.) https://doi.org/10.37538/2224-9494-2025-4(47)-90-103. EDN: ONMOPT
Введение
В настоящее время для измерения температуры грунтов применяются подготовленные и выстоянные термометрические скважины, устраиваемые в соответствии с СП 25.13330.2020 [1] и ГОСТ 25358-2020 [2]. Согласно ГОСТ 25358-2020 [2], для измерения температуры грунтов следует использовать инженерно-геологические скважины диаметром не более 160 мм и целевые термометрические скважины диаметром не более 90 мм.
При проведении измерений температуры возникают отклонения температуры в скважине от истинной температуры грунтов. Эти отклонения могут быть существенными и изменяются в течение года [3–5].
Средства измерения температуры, подобно средствам измерения других физических величин, не могут обеспечить определение действительного значения температуры исследуемого объекта, поскольку физические принципы и исходные условия проведения измерений в некоторой степени оказываются нарушенными. Результат измерений температуры будет отличаться от ее действительного значения на величину, называемую абсолютной погрешностью измерения температуры [6]. Абсолютную погрешность можно разделить на три составляющие: методическую, инструментальную и погрешность регистрации наблюдений. Конструктивные особенности термометрической скважины могут вызывать методическую погрешность.
Цель работы состоит в определении, какие материалы и размеры защитных трубок обеспечат минимальное искажение температурных данных.
Материалы и методы
В рамках исследования принято проводить лабораторные лотковые испытания моделей термометрических скважин разной конструкции в песчаном основании. Для выявления зависимости того, как материал защитной трубки влияет на распределение температуры грунтов по глубине, принято сравнивать результаты измерений температуры грунта в металлической трубке Ø 57 мм и поливинилхлоридной (ПВХ) трубке Ø 57 мм. Чтобы оценить, как диаметр защитной трубки влияет на распределение температуры грунтов по глубине, принято сравнивать результаты измерений температуры грунта в ПВХ трубках с диаметрами 57, 90 и 160 мм. Таким образом, для решения двух поставленных задач принято использовать четыре защитные трубки разного материала и диаметра в одинаковых условиях. В связи с задачей изучить необходимость теплоизоляции верхней надземной части защитной трубки, принято провести два лотковых испытания: первое – без теплоизоляции оголовка трубки, второе – с теплоизоляцией оголовка трубки.
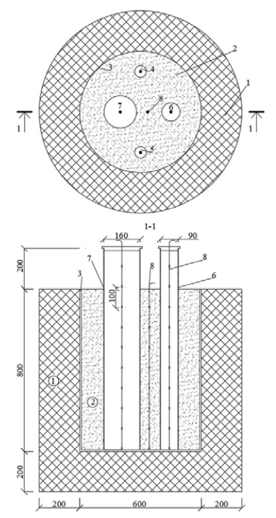
В рамках подготовительных работ подготовлен экспериментальный лоток. Лоток представляет собой открытую емкость диаметром 600 мм и высотой 800 мм. Внутри лотка устанавливаются защитные трубки с закрытым нижним концом – металлическая трубка Ø 57 мм, ПВХ трубка Ø 57 мм, ПВХ трубка Ø 90 мм, ПВХ трубка Ø 160 мм, длина трубок одинаковая – 1000 мм. Внутрь защитных трубок опускаются термометрические косы с шагом датчиков 100 мм, оставшийся объем лотка заполняется грунтом с заданными значениями плотности и влажности. В процессе заполнения лотка в грунт (в центр лотка) устанавливается отдельная термометрическая коса без защитной трубки с шагом датчиков 100 мм. На оголовках трубок устанавливаются защитные крышки. Стенки и дно лотка теплоизолируются монтажной пеной с коэффициентом теплопроводности 0,05 Вт/(м°С) и толщиной 200 мм. Отдельно подготавливаются теплоизолирующие крышки с размерами внутреннего отверстия такими, чтобы вмещать в себя оголовок трубки, и толщиной изоляции 40 мм. Крышка состоит из материала с коэффициентом теплопроводности 0,05 Вт/(м°С). В ходе подготовки испытательный стенд устанавливается в морозильную камеру.
Проведение испытаний
В ходе первого испытания заморозка грунта длилась десять дней при температуре минус 15 °С, согласно предварительному теплотехническому расчету. Затем морозильная камера была переведена на среднюю по глубине лотка температуру (минус 13,7 °С). После выдержки в течение четырех дней морозильную камеру отключили и в ней установилась комнатная температура (20 °С). За четырнадцать дней температура грунта достигла комнатной температуры.
После завершения первого лоткового эксперимента была выполнена теплоизоляция оголовков защитных трубок и начат второй лотковый эксперимент. В ходе второго испытания заморозка грунта длилась восемь дней при температуре минус 15 °С. Затем морозильная камера была переведена на температуру минус 13,7 °С. После выдержки в течение четырех дней морозильную камеру отключили, за десять дней в ней установилась комнатная температура (20 °С).
Принципиальная схема лотка представлена на рис. 1. Общий вид экспериментального лотка приведен на рис. 2.

Рис. 1. Принципиальная схема лотка: 1 – теплоизоляция; 2 – песчаный грунт; 3 – емкость; 4 – трубка металлическая Ø 57 мм; 5 – трубка ПВХ Ø 57 мм; 6 – трубка ПВХ Ø 90 мм; 7 – трубка ПВХ Ø 160 мм; 8 – термометрическая коса
Fig. 1. Schematic diagram of the soil container: 1 – thermal insulation; 2 – sandy soil; 3 – container; 4 – metal tube Ø 57 mm; 5 – PVC tube Ø 57 mm; 6 – PVC tube Ø 90 mm; 7 – PVC tube Ø 160 mm; 8 – thermometric cable

Рис. 2. Общий вид экспериментального лотка: а – без теплоизоляции оголовков; б – с теплоизоляцией оголовков (фото: И.А. Дымченко)
Fig. 2. General view of the experimental container: a – without thermal insulation of heads; b – with thermal insulation of heads (photo by I.A. Dymchenko)
Результаты лотковых испытаний
В результате испытания № 1 построены графики изменения температуры во времени для различных глубин, представленные на рис. 3–5.
При измерении температуры в защитных трубках не фиксируются фактические значения температуры грунтов [7–11]. Измеряется температура воздуха в защитной трубке, на которую оказывает влияние температура грунта, температура защитной трубки и конвективный теплообмен в пространстве защитной трубки. Поэтому выбирая ту или иную конструкцию защитной трубки, необходимо рассматривать вопрос точности получаемых с ее помощью результатов.
Согласно результатам измерений:
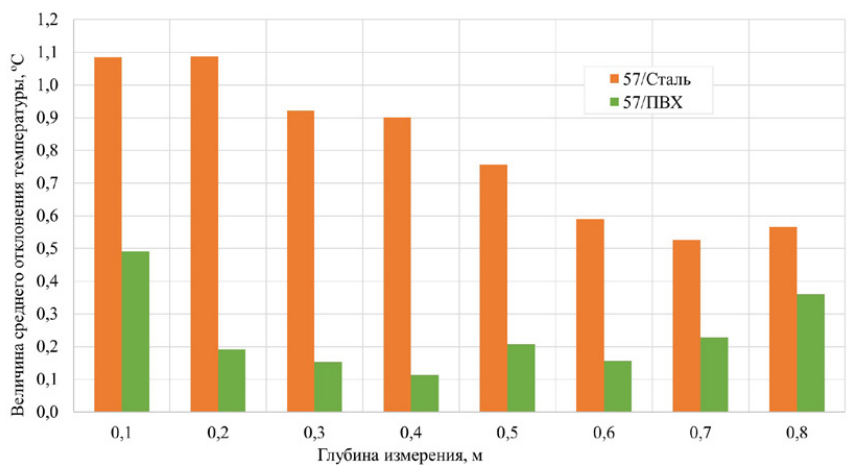
– при фиксации температуры на глубине 0,1 м общая точность измерений низкая. В защитной трубке Ø 57 мм из ПВХ получены самые точные результаты, среднее отклонение – 0,5 °С. Самое большое отклонение получено при измерении в стальной защитной трубке Ø 57 мм – 1,1 °С;
– при фиксации температуры на глубине 0,4 м общая точность измерений выросла. В защитной трубке Ø 57 мм из ПВХ получены самые точные результаты, среднее отклонение – 0,1 °С. Самое большое отклонение получено при измерениях в стальной защитной трубке Ø 57 мм – 0,9 °С;
– при фиксации температуры на глубине 0,8 м общая точность измерений самая высокая. В защитной трубке Ø 90 мм из ПВХ получены самые точные результаты, среднее отклонение – 0,2 °С. Самое большое отклонение получено при измерениях в защитной трубке Ø 160 мм из ПВХ – 0,8 °С;
– на этапе выдержки измерения во всех защитных трубках показали высокую точность, среднее отклонение – 0,06 °С.
Согласно результатам второго испытания, наличие теплоизоляции оголовков защитных трубок показало, что при измерении температуры в стальной трубке и в трубке Ø 160 мм из ПВХ точность увеличилась в среднем на 0,2 °С.
Влияние материала защитной трубки
В рамках экспериментальных исследований проведены испытания с использованием двух материалов защитных трубок – ПВХ и сталь. Измерения температуры в стальной защитной трубке при прочих равных оказались менее точными. В среднем измерения в ПВХ трубке того же диаметра оказались точнее на 0,6 °С, чем измерения в стальной трубке. На рис. 6 представлена гистограмма изменения величины среднего отклонения температуры в зависимости от глубины измерения.
Согласно графику, с увеличением глубины измерения влияние материала защитной трубки на точность результатов измерения температуры грунта постепенно снижается.
Лотковый эксперимент № 2 показал, что наличие теплоизоляционного короба на оголовке защитной трубки позволяет сгладить недостатки стальных защитных трубок. Во втором опыте в среднем измерения в ПВХ трубке того же диаметра оказались точнее на 0,4 °С, чем измерения в стальной трубке.
В рамках экспериментальных исследований проведен дополнительный опыт. При постоянной положительной температуре воздуха и грунта к боковой поверхности оголовков защитных трубок равного диаметра и разных материалов на 1 час в одинаковые места прикладывался нагревательный элемент с температурой 40 °С, (сначала к стальной трубке, затем к ПВХ трубке). В этот момент с помощью логгера и термометрических кос каждую минуту фиксировалась температура по всем точкам. Цель опыта – наглядно продемонстрировать, как влияние внешних факторов сказывается на результатах измерения, в зависимости от материала защитной трубки. Принципиальная схема опыта с нагревателем показана на рис. 7.
Согласно результатам опыта с нагревателем, за 1 час на глубине 0,1 м температура увеличилась на 3,8 °С в стальной защитной трубке и на 3,0 °С в ПВХ защитной трубке. При этом эффект от нагрева в стальной трубке распространился на глубину 0,3 м, а в ПВХ трубке значительно снизился уже на глубине 0,2 м. Результаты показывают необходимость утеплителя оголовков защитных трубок, в особенности стальных защитных трубок.
Влияние диаметра защитной трубки
В рамках экспериментальных исследований проведены испытания с использованием защитных трубок из ПВХ трех диаметров: 57, 90 и 160 мм. На рис. 8 представлены гистограммы изменения величины среднего отклонения температуры в зависимости от глубины измерения для разных диаметров трубок.
Измерение температуры в защитной трубке Ø 160 мм показало значительные отклонения от фактической температуры грунта. В среднем измерения в ПВХ трубке Ø 57 мм оказались точнее, чем измерения в ПВХ трубке Ø 90 мм на 0,3 °С, и точнее, чем измерения в ПВХ трубке Ø 160 мм на 0,5 °С.
Согласно графикам, с увеличением глубины измерения снижается влияние диаметра защитной трубки на точность результатов измерения температуры грунта. В эксперименте № 1 тенденция сохраняется для защитной трубки Ø 160 мм и снижается для защитных трубок Ø 57 и Ø 90 мм. Таким же образом в эксперименте № 2 измерения в трубке Ø 57 мм оказались точнее, чем измерения в трубке Ø 90 мм на 0,3 °С, и точнее, чем измерения в трубке Ø 160 мм на 0,4 °С.
Лотковый эксперимент № 2 показал, что наличие теплоизоляционного короба на оголовке защитной трубки позволяет незначительно сгладить недостатки защитных трубок большого диаметра.
В процессе анализа полученных результатов выявлено, что самые большие отклонения фиксируемой в защитных трубках температуры от фактической наблюдаются в районе фазового перехода грунта (минус 0,05 °С). В районах распространения многолетнемерзлых грунтов фазовым переходам подвержены, как правило, грунты слоя сезонного оттаивания. Из чего следует вывод, что при измерениях температуры в слое сезонного оттаивания необходимо учитывать возможность значительных температурных отклонений.
Для дальнейшего анализа принято отобрать и сравнить участки времени, где средняя скорость изменения температуры меньше 0,1 °С в течение 3 часов. Такие результаты принято считать «выдержанными». В результате обработки опытных данных выявлено, что 38 % времени испытания соответствуют критерию отбора. В остальное время температура в скважинах менялась слишком быстро, чтобы считать ее «выдержанной». При этом общая средняя точность измерений выросла с 0,6 °С (для всех фиксируемых значений) до 0,3 °С (для «выдержанных» значений). Общая зависимость от материала и диаметра сохранилась:
– для трубки из ПВХ Ø 57 мм средняя точность измерений составила 0,1 °С;
– для трубки из ПВХ Ø 90 мм средняя точность измерений составила 0,3 °С;
– для трубки из ПВХ Ø 160 мм средняя точность измерений составила 0,5 °С;
– для трубки из стали Ø 57 мм средняя точность измерений составила 0,4 °С.
Результаты такой обработки показали, что точность измерений напрямую зависит от скорости изменения температуры грунта: чем медленнее меняется температура грунта, тем выше точность измерений в защитной трубке. При этом в процессе лотковых экспериментов температура грунта менялась с большей интенсивностью, чем обычно происходит на практике. Следует отметить, что в условиях эксперимента температура воздуха в рамках каждого периода поддерживалась постоянной, что исключало суточные колебания температуры, характерные для естественных условий. Во время эксперимента температура грунта снизилась на 33 °С за десять суток, в то время как на практике в районах распространения многолетнемерзлых грунтов такое изменение температуры грунта может произойти только в верхней части сезонно-талого слоя за несколько месяцев зимнего периода.
Время выдержки
Согласно результатам испытаний, после фазового перехода в защитной трубке устанавливается температура, с высокой точностью повторяющая фактическую температуру грунта. Этот процесс происходит за разный промежуток времени и зависит от материала и диаметра защитной трубки. Наиболее характерная зависимость прослеживается по результатам первого опыта. График изменения погрешности измерений температуры во времени представлен на рис. 9.
Согласно графику, результаты измерений достигли приемлемой точности:
– в защитной трубке из ПВХ Ø 57 мм за 41 час;
– в защитной трубке из ПВХ Ø 90 мм за 69 часов;
– в защитной трубке из ПВХ Ø 160 мм за 79 часов;
– в защитной трубке из стали Ø 57 мм за 73 часа.
Второе лотковое испытание показало, что утеплитель способствует ускорению процесса «выдержки» для стальных защитных трубок и защитных трубок большого диаметра, результаты измерений достигли приемлемой точности:
– в защитной трубке из ПВХ Ø 57 мм за 47 часов;
– в остальных трубках за 70 часов.
Графики зависимости температуры от глубины в разные промежутки времени представлены на рис. 10.
Как видно из графиков, измерения во всех защитных трубках спустя четыре дня показали достаточно точные результаты. При этом самые точные результаты получились в защитной трубке из ПВХ Ø 57 мм, а самые неточные в защитной трубке из ПВХ Ø 160 мм.

Рис. 3. График изменения температуры во времени на глубине 0,1 м
Fig. 3. Temperature change over time at a depth of 0.1 m

Рис. 4. График изменения температуры во времени на глубине 0,4 м
Fig. 4. Temperature change over time at a depth of 0.4 m

Рис. 5. График изменения температуры во времени на глубине 0,8 м
Fig. 5. Temperature change over time at a depth of 0.8 m

Рис. 6. Гистограмма изменения величины среднего отклонения температуры в зависимости от глубины измерения
Fig. 6. Histogram of the change in the average temperature deviation depending on the measurement depth

Рис. 7. Принципиальная схема опыта с нагревателем: 1 – теплоизоляция; 2 – песчаный грунт; 3 – емкость; 4 – трубка металлическая Ø 57 мм; 5 – трубка ПВХ Ø 57 мм; 8 – термометрическая коса; 9 – нагревательный элемент
Fig. 7. Schematic diagram of the experiment with a heater: 1 – thermal insulation; 2 – sandy soil; 3 – container; 4 – metal tube Ø 57 mm; 5 – PVC tube Ø 57 mm; 8 – thermometric cable; 9 – heating element

Рис. 8. Гистограмма изменения средней величины отклонения температуры
Fig. 8. Histogram of the change in the average temperature deviation

Рис. 9. График изменения погрешности измерений температуры во времени
Fig. 9. Change in the temperature measurement error over time

Рис. 10. График зависимости температуры от глубины для различных трубок: а – стальной Ø 57 мм; б – ПВХ Ø 57 мм; в – ПВХ Ø 90 мм; г – ПВХ Ø 160 мм
Fig. 10. Temperature vs depth for different tubes: a – steel Ø 57 mm; b – PVC Ø 57 mm; c – PVC Ø 90 mm; d – PVC Ø 160 mm
Выводы
В настоящей работе выполнены исследования влияния конструктивных параметров термометрических скважин на распределение температуры грунтов по глубине. На основании проведенных работ определена зависимость между выбранным диаметром, материалом защитной трубки и точностью полученных результатов.
Анализ результатов экспериментальных исследований показал:
– существует некоторая разница между фактической температурой грунта и температурой, определенной в защитных трубках. Это явление вызвано различиями в теплофизических свойствах грунта и воздуха, а также материалом защитной трубки. Разница может достигать нескольких градусов в момент фазового перехода грунта, при этом точность измерений температуры в защитных трубках увеличивается с увеличением глубины измерений;
– материал и диаметр защитной трубки влияет на точность измерений. Точность измерений в стальной трубке может снижаться на 0,4–0,6 °С, в отличие от измерений в ПВХ трубке того же диаметра. Снижение точности измерений в стальной трубке связано с высоким коэффициентом теплообмена по сравнению с ПВХ трубкой. В то же время точность в ПВХ трубке диаметром 57 мм оказывается выше точности измерений в ПВХ трубке диаметром 160 мм на 0,3–0,5 °С. Различия в точности измерений при разном диаметре вызваны конвективным теплообменом, для его ограничения принято использовать разделительные диски-диафрагмы, закрепленные на гирлянде через 1 м, до глубины 5 м;
– при измерении температуры грунтов выше слоя сезонного оттаивания в защитной трубке из ПВХ диаметром более 57 мм или защитной трубке из стали любого диаметра сложно добиться высокой точности результатов, что может негативно повлиять на исследования сил морозного пучения;
– при измерениях температуры грунтов ниже слоя сезонного оттаивания в защитной трубке из ПВХ или стали диаметром 57–160 мм возможно достичь приемлемой точности температуры при достаточной выдержке, длительность которой увеличивается, если использовать сталь или трубки большого диаметра.
В результате комплекса экспериментальных исследований определена оптимальная конструкция термометрической скважины. При классическом геотехническом мониторинге следует использовать защитные трубки из ПВХ или стали диаметром 57 мм. При исследовании точной температуры грунтов в слое сезонного оттаивания необходимо учитывать погрешность, вызванную сталью, или использовать ПВХ трубку. Оголовок такой трубки должен быть надежно теплоизолирован. Такая конструкция способствует повышению точности измерений.
Список литературы
1. СП 25.13330.2020. Основания и фундаменты на вечномерзлых грунтах. Актуализированная редакция СНиП 2.02.04-88 [интернет]. Режим доступа: https://nav.tn.ru/cloud/iblock/e3c/e3c7844b0552e87b77df1ebc4b2e7474/SP-25.13330.2020-Osnovaniya-i-fundamenty-na-vechnomerzlykh-gruntakh.pdf.
2. ГОСТ 25358-2020. Грунты. Метод полевого определения температуры. Москва: Стандартинформ; 2021.
3. <i>Геращенко О.А., Гордов А.Н., Лах В.И., Стаднык Б.И., Ярышев Н.А.</i> Температурные измерения. Справочник. Киев: Наукова думка; 1984.
4. <i>Чекалюк Э.В.</i> Основы пьезометрии залежей нефти и газа. Киев: Гостехиздат; 1961.
5. <i>Павлов А.В.</i> Теплообмен промерзающих и протаивающих грунтов с атмосферой. Москва: Наука; 1965.
6. <i>Кутасов И.М.</i> Влияние свободной тепловой конвекции и защитных трубок на температурное поле в скважинах. В: Тепловые потоки из коры и верхней мантии Земли: сб. ст. Москва: Наука; 1973, с. 99–106.
7. <i>Грязнова Е.М.</i> Роль геотехнического мониторинга в обеспечении эксплуатационной надежности зданий. Инновации и инвестиции. 2022;(4):143–144.
8. <i>Шеин А.Н., Леопольд Я.К.</i> Оценка погрешности измерения температуры грунтов в скважине с железной и пластиковой обсадкой. В: Интерэкспо ГЕО-Сибирь – XIX Международный научный конгресс. Международная научная конференция «Недропользование. Горное дело. Направления и технологии поиска, разведки и разработки месторождений полезных ископаемых. Экономика. Геоэкология». Сборник материалов. Т.2. Новосибирск; 2023, с. 73–77.
9. <i>Тулапин А.В., Рокос С.И., Длугач А.Г., Куликов С.Н., Белов М.В., Жуков К.М., Петров Е.О., Прищепенко Д.В.</i> Гидрогеологический фактор и его возможное влияние на температурные измерения в скважинах (опыт термометрических исследований в акватории восточно-сибирского моря). В: Рельеф и четвертичные образования Арктики, Субарктики и Северо-Запада России. Материалы ежегодной конференции по результатам экспедиционных исследований. Вып. 9. Санкт-Петербург; 2022, с. 272–278.
10. <i>Сазонов П.М., Алексеев А.Г.</i> Термомеханическое взаимодействие буроопускных свай с многолетнемерзлыми грунтами. Фундаменты. 2022;(1):27–29.
11. <i>Колыбин И.В., Алексеев А.Г., Сазонов П.М., Виноградова С.А., Зорин Д.В., Кисин Б.Ф.</i> Разработка регламента геотехнического мониторинга крупных городов арктической зоны Российской Федерации. Отчет о НиP № ГР АААА-Б20-220121790069-7. Москва; 2022.
Об авторах
П. М. СазоновРоссия
Павел Михайлович Сазонов, заведующий сектором проектирования и геокриологических исследований, лаборатория механики мерзлых грунтов и расчета оснований, центр геокриологических и геотехнических исследований, НИИОСП им. Н.М. Герсеванова АО «НИЦ «Строительство», Москва
Рязанский проспект, д. 59, г. Москва, 109428, Российская Федерация
e-mail: sazonov-pm@yandex.ru
И. А. Дымченко
Россия
Илья Александрович Дымченко, инженер сектора проектирования и геокриологических исследований, лаборатория механики мерзлых грунтов и расчета оснований, центр геокриологических и геотехнических исследований, НИИОСП им. Н.М. Герсеванова АО «НИЦ «Строительство»; аспирант, АО «НИЦ «Строительство», Москва
Рязанский проспект, д. 59, г. Москва, 109428, Российская Федерация; 2-я Институтская ул., д. 6, к. 1, г. Москва, 109428, Российская Федерация
e-mail: 89212002055i@gmail.com
А. А. Щербакова
Россия
Анна Андреевна Щербакова*, инженер сектора проектирования и геокриологических исследований, лаборатория механики мерзлых грунтов и расчета оснований, центр геокриологических и геотехнических исследований, НИИОСП им. Н.М. Герсеванова АО «НИЦ «Строительство»; аспирант, АО «НИЦ «Строительство», Москва
Рязанский проспект, д. 59, г. Москва, 109428, Российская Федерация; 2-я Институтская ул., д. 6, к. 1, г. Москва, 109428, Российская Федерация
e-mail: shcherbakovaannaandreevna@gmail.com
Рецензия
Для цитирования:
Сазонов П.М., Дымченко И.А., Щербакова А.А. Влияние конструктивных параметров термометрических скважин на точность измерения температуры грунтов. Вестник НИЦ «Строительство». 2025;47(4):90-103. https://doi.org/10.37538/2224-9494-2025-4(47)-90-103. EDN: ONMOPT
For citation:
Sazonov P.M., Dymchenko I.A., Shcherbakova A.A. Design effects on the accuracy of soil temperature measurements in thermometric wells. Bulletin of Science and Research Center of Construction. 2025;47(4):90-103. (In Russ.) https://doi.org/10.37538/2224-9494-2025-4(47)-90-103. EDN: ONMOPT
JATS XML


















